Printable DB
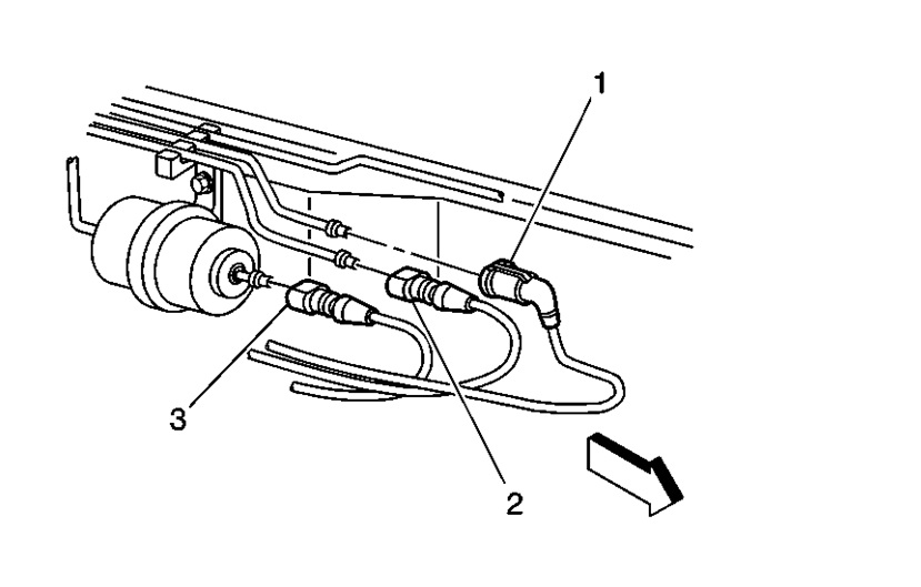
2007 Chevy Trailblazer Fuel Filter Location
excel task calendar template
ford 7 pin trailer plug diagram
insurance agency business plan template
free sample coupon templates
get money for taking pictures of receipts
harry potter thank you cards free printable
free graduation invitation templates for word
joann fabric in store coupons printable
Chevy Trailblazer Fuel Filter Location And Replacement
Chevy Trailblazer Fuel Filter Location And Replacement
Fuel Filter Replacement Chevrolet Trailblazer 2004 Chevy Install Remove Replace
How To Replace Fuel Filter 03 08 Gmc Envoy
02 04 Trailblazer Fuel Filter Replacement 4 2 I6
Wrg 2562 2007 Chevy Trailblazer Fuel Filter Location
Agco Automotive Repair Service Baton Rouge La Detailed
How To Change The Fuel Filter In A Chevy Trailblazer It
Chevy Trailblazer Fuel Filter Location And Replacement
How To Do A Fuel Filter Chevy Trail Blazer Gmc Envoy
Fuel Filter Change Youtube
How To Install Replace Fuel Filter 2003 08 Gmc Envoy Xl
Solved How To Replace Fuel Filter On 2005 Gmc Envoy Fixya
Chevrolet Trailblazer Ext Questions Truck Wont Start
Chevrolet Aveo Forum And Owners Club Aveoforum Com
Wrg 7799 2006 Chevy Trailblazer Fuel Filter Location
Chevy Trailblazer Fuel Pump Change Quick Video
Bad Gas Mileage Gmc Acadia Forum
Acdelco Gf831 Professional Fuel Filter
Chevy Prizm Fuel Filter Technical Diagrams
Fuel Filter Replacement 2006 Chevrolet Cobalt Ls Install Remove Replace How To Change
Source :
pinterest.com
Popular Posts
Kpa Ctp Certification
Free Marketing Calendar Template
Free Math Printables For 1st Grade
Expense Report Template Excel 2010
Free Money Worksheets For Teachers
Expense Sheet Template
Kium Picanto 2006 Fuse Box Diagram
Free Shooting Schedule Template Excel
Hotel Contract Template
Information Security Policy Template For Small Business Australia
Free Printable Wonderword
Free Blank Cd Cover Template Psd
Land Rover Clock Wiring
Handwriting Worksheets For Kindergarten
Fire Flyer Template
Family Llc Operating Agreement Template
Executive Summary Template Ppt
Invoice Template With Bank Account Details
Human Resources Service Agreement Template
Fake Doctors Note Template Free
Female Printable Flat Stanley Template
Late Payment Overdue Payment Reminder Email Sample
Fuse Box For 2002 Ford Mustang
Greetings From Postcard Template
Fifth Wheel Wiring Diagram 12 Volt
Hourly Timesheet Template Excel
Free Print Handwriting Worksheets
Fact Sheet Template Google Docs Free
Jeep Speaker Wiring Connector
Free Sample Agreement Between Two Parties Pdf
General Sales Agreement Template
Free Towing Invoice Template Downloads
Free Printable January 2019 Calendar Template
Landlord Inspection Notice Template
Google Timeline Template
Free Printable Button Templates
Free Printable Wonka Bar Wrapper
Free Jamaican Flyer Templates
How To Wire A 5 Pin Relay For Fog Lights
Free Blank Brochure Templates
Free Blank T Chart Template
Free Download Rg2ex1 Wiring Diagram
Kitchen Haccp Cleaning Schedule Template
Graduation Program Template Free
Late Rent Notice Template Pdf
Free Printable Thank You Tags For Favors
Free Hoa Budget Template
Health And Safety Agenda Template
Jeep Blower Resistor Wiring Diagram
Funeral Register Book Template
H3 Fuse Box Location
It Strategy Template Ppt
Free Internship Cover Letter Template
How To Create An Infographic Resume In Word
Irs Form 1040 Es Printable