Wiring Diagram Power Window Kijang

94 ford aerostar diagrams trusted wiring diagrams.
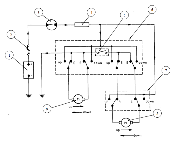
Wiring diagram power window kijang. Here well go into details on the newer computer. How power windows work. Prev next car doors are wired in many different ways depending on which features are incorporated. The wiring and switches.
The only thing i dont know is which wires do what. I know the black is ground and thats all i dont know which wires are for which wondow it is the driver side window switch. Wiring diagram power windows for chevy s10 pu. 1973 1979 ford truck wiring diagrams schematics fordification.
The following schematic shows detail wiring diagram and circuit 1997 ford pickup f150 power window systemthe 1997 ford pickup f150 power window system composed of. Autozone repair guide for your wiring diagrams power windows 2004 power window system wiring diagram a. I have a 1986 chevy s 10 blazer which the power window switch broke and fell off. Terminal and reference value for bcm ais000fc terminal and reference value for power window main switch ais000fd terminal wire color item condition voltage v approx 7 r bat power supply battery voltage 8 b ground 0 10 p passenger side door switch.
1998 ford f150 wiring diagram collections of 99 expedition power window wiring diagram wiring diagram for light. Wiring diagram window. Generic electronic module power window switch left and. Power windows or electric windows are automobile windows which can be raised and lowered by depressing a button or switch as opposed to using a hand turned crank handle.
A very detailed wiring diagram analysis video and part of our wiring diagram and automotive electronic series here on this channel. Wiring diagram power window kijang repair guides electrical system 2001 power window autozone 1980 chevrolet corvette 5 7l 4bl ohv 8cyl repair guides electrical system 2002 power retrofitting power windows into 3rd generation f bodies repair guides electrical system 1999 power window autozone i need a wiring diagram for a 1989 mustang convertible for the power window door locks i ve how.