1999 Suburban Fuse Box Label Pwr Accy

2000 2002 see fuses aux pwr and cigar in the engine compartment fuse box.
1999 suburban fuse box label pwr accy. Locate fuse and relay. Suburban 1999 fuse box. Identifying and legend fuse box chevrolet suburban chevrolet tahoe gmc suburban gms yukon 1992 1999. Trailer wiring emergency vehicle roof lamp relay.
Remember to keep your valuables out of sight. Park in a lighted spot close all windows and lock your. The fuse block access door is on the drivers side of the instrument panel below the hood release lever. Load is too heavy the circuit breaker opens and closes.
I checked from there to ground with an ohm meter and i have 03 ohms. Cigar lighter power outlet fuses in the chevrolet suburban tahoe are located in the engine compartment fuse box and since 2003 also in the instrument panel fuse box. Circuit breakers in the fuse panel protect the power. Acircuit breaker would automaticly reset if it tripped somehow.
2004 instrument panel fuse block the fuse block access door is on the drivers side edge of the instrument panel. Fuses usage rr wiper rear window wiper switch seo accy special equipment option accessory ws wpr windshield wipers tbc accy truck body controller accessory ign 3 ignition heated seats 4wd four wheel. Identifying and legend fuse box chevrolet silverado 1999 2007. Locate fuse and relay.
Chevrolet suburban 2004 fuse box diagram year of production. Fuse box diagram chevrolet. Pdm fuse ecc fuse aux pwr 2 fuse. Windows and other power accessories.
Instrument panel fuse block. I found that to. Thanks answered by a verified chevy mechanic. 1993 1999 cigar lighter power outlet fuses in the chevrolet suburban are the fuses 7 aux pwr aux power outlet and 13 cig ltr cig lighter in the instrument panel fuse box 1995 1999.
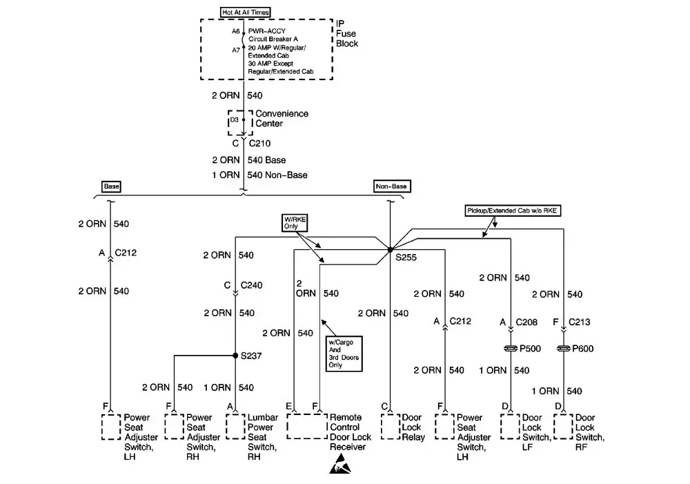
I have this 99 suburban that has power door locks and both front power seats inop. Chevrolet express fuse box instrument panel. If the locks worked prior to the fuse blowing then i. In the fuse block.
So i do have a short. Chevrolet express 1999 fuse box diagram. Electronic brake control module ebcm. I found the power accy circuit breaker a in left fuse block tripped.