Printable DB
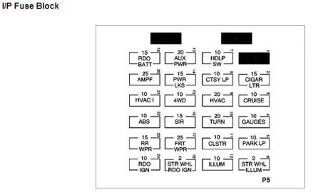
95 Chevy Blazer Fuse Box Diagram
edx python certification
calendar template mac
course 2 chapter 7 equations and inequalities worksheet answers
chiropractic certification online
blank menu template pdf
downloadable free retirement invitation template
diy fog light wiring harnes
clarion wiring harnes
Fuse Box Location New Truck Alternator Not Charging Do You
Chevy Blazer 1995 2005 Fuse Box Location And Diagram
96 S10 Fuse Panel Diagram Wiring Diagram
95 Blazer Fuse Box Wiring Library
Instrument Panel Fuse Box 1997 Blazer Bravada S10 Pickup
1995 Chevy Blazer Fuse Box Wiring Diagram
95 Geo Tracker Fuse Box Diagram Wiring Diagram
1993 Instrument Panel Fuse Box Gm 4 3l 5 0l 5 7l
3rd Brake Light Not Getting Power Fuse Where Is It
1996 Blazer Fuse Box Wiring Diagram
1995 Chevy Blazer Fuse Box Wiring Diagram
Ecm Pcm Fuse Location 95 Blazer Blazer Forum Chevy
1998 Blazer Fuse Panel Diagram Wiring Library
1995 Chevrolet Fuse Box Wiring Library
S10 Fuse Box Light Wiring Diagram
96 S10 Fuse Panel Diagram Wiring Diagram
95 Chevy Blazer Fuse Box Diagram Wiring Diagram
2003 Blazer Fuse Box Wiring Diagram
1991 Chevy Truck Fuse Box Diagram Wiring Diagram
96 S10 Fuse Panel Diagram Wiring Diagram
95 S10 Fuse Diagram Wiring Diagram
Source :
pinterest.com
Popular Posts
Auvi Q Printable Instructions
2004 Dodge Stratu Fuse Box
2007 Hyundai Accent Belt Diagram
70 Chevelle S Fuse Box
Basketball Resume Coach
1950 Chrysler Wiring Diagram
Adrenaline Gift Certificates
Ask For Price Quotation Email Sample
1999 Honda Recon 250 Wiring Diagram
97 Eclipse Wiring Diagram
2008 Bad Boy Buggy Wiring Diagram
1998 Dodge Durango Radio Wiring Diagram
96 Gmc Sierra Wiring Diagram
2002 Gmc Sierra 1500 Engine Diagram
4th Grade Book Report Template Pdf
2000 Chrysler Lh Cam Sensor Wiring Diagram
Baseball Score Sheet Template Free
2011 Vw Routan Fuse Box Diagram
Arduino Wiring Diagram
Ac Generator Wiring Schematic
2014 Jeep Wrangler Stereo Wiring Harnes
Ac Motor Forward Reverse Control Circuit
97 Ford F150 Fuse Box Diagram
1970 Impala Wiring Diagram
Band Mailing List Template
36 Chevy Truck Wire Harnes
Aws Certification Material
8n Ford Starter Solenoid Diagram
2nd Grade English Worksheets Grammar
Alice Basic Certification
2008 Rzr Dask
3000 4000 Allison Transmission Wiring Diagram
2001 Chevy Cavalier Ignition Switch
1997 Ford F150 Engine Diagram
Auto Sale Agreement Template
1998 Tahoe Fuse Diagram
Basic Color Wheel Template
9x12 Presentation Folder Template Illustrator
1986 Ford F 250 Wiring Diagram
3 Month Calendar Template
Ace Spin Certification
Audi A3 Glove Box
2006 Dodge Ram 1500 Fuse Box Diagram
2002 Suburban Starter Fuse
80 Series Spotlight Wiring Diagram
7 Segment Wiring Diagram
2006 Ezgo Txt Wiring Diagram Headlight
95 Lt1 Engine Diagram
2017 Chrysler Pacifica Fuse Box Location
6th Grade Math Ratios Worksheets
360 Deal Contract Template
07 Chevy Suburban Wiring Diagram
2003 Chevy Tahoe Drive Shaft
1 Page Resume Template Word
2014 Ford Truck Fuse Diagram