Printable DB
Flashlight Part Diagram
product road map template
printable fortnite cake toppers
panasonic schematic diagram
osha hazmat certification
paper crown template king
printable books of the bible bookmark
out of court settlement agreement template
printable oracal 651
The Parts Of A Flashlight How They Work
Makita Ml700 Parts Cordless Flashlight
Maglite Parts Lists Flashlightsales Com Discount Maglite
Light Your Way Design Build A Series Circuit Flashlight
Buy Makita Ml900 Replacement Tool Parts Makita Ml900 A
Ryobi Rp4450 Tek4 4 Volt Led Flashlight Parts And
Maglite Parts Lists Flashlightsales Com Discount Maglite
Technical Description Rayovac Workhorse Flashlight
How Does A Flashlight Work Energizer
Buy Makita Bml184 18v Lxt Lithium Ion Rechargeable
Makita Ml901 Parts Rechargeable Flashlight
Looking For Craftsman Model 27153 Home Repair Replacement
Makita Ml903 Parts List Makita Ml903 Repair Parts Oem
Maglite Parts Lists Flashlightsales Com Discount Maglite
Solved Draw The Schematic Diagram For A Simple Flashlight
Looking For Makita Model Ml120 Home Repair Replacement Parts
Wiring Diagram For Flashlight Schematics Online
How Flashlight Is Made History Used Parts Components
How Circuits Work Howstuffworks
Solidworks Flashlight Project Part 1 Mechanical Design
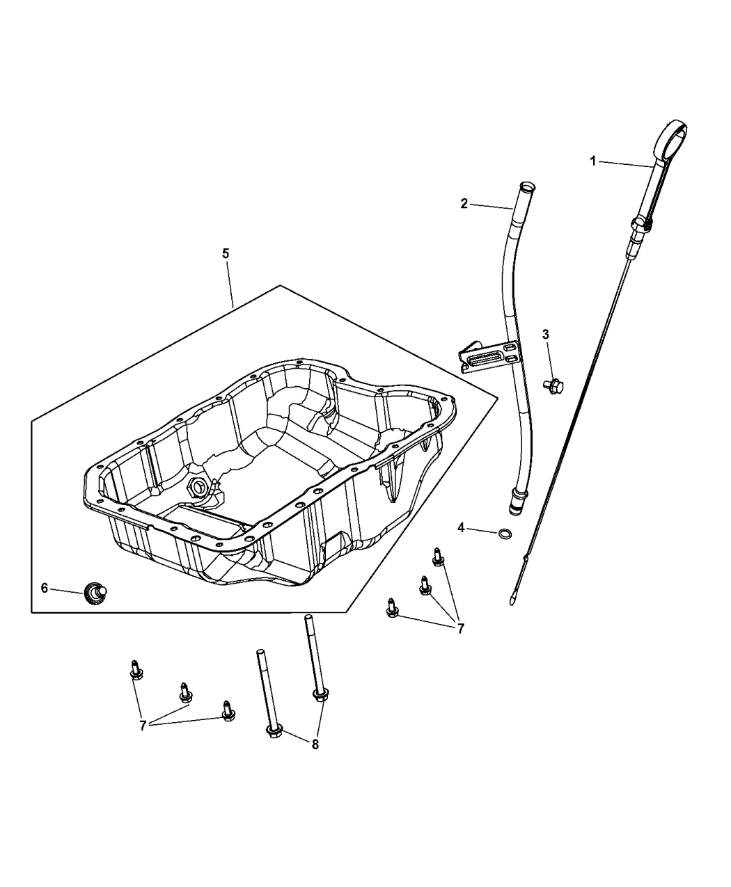
Mopar 5lb81bd3aa
Source :
pinterest.com
Popular Posts
Sample Profit And Loss Statement For Construction Company
Studio Wiring Diagram
Verification Of Rent Form Sample
Vendor Sample Termination Of Contract Letter
Two Gang Two Way Switch
Reward Card Template
Rainbow Invitations Templates Free
Recruiting Metrics Template
Seminar Poster Template Free
Razor E300 Scooter Wiring Diagram
Starter Ignition Switch Wiring Diagram Chevy
Resume Cover Letters 2019
Security Website Template
Waste Transfer Note Template Scotland
Smocking Graph Paper Free
Viking Range Wiring Diagram
Single Phase Wiring Schematic
Sans Certification Path
Resume
Santa Christmas Letter Template
Tax Client Information Sheet Template
Template Bingo Cards Sample
Restaurant Budget Template Excel
Truck Driver Performance Review Template
Vehicle Turning Templates
Spot The Difference Free Christmas Puzzles Printables
Squarespace Landing Page Templates
Service Business Plan Template Word
Roster Templates Free
Router Diagram Symbols
Sample Credit Authorization Form
Subcontractor Non Compete Agreement Template
Taco Flyer Template Free
Rotax 503 Wiring Harnes
Technology Roadmap Template
Temporary Parenting Plan Template
Recipe Card Template Software
Top Executive Resume Writing Service
Sample Cash Flow Statement Indirect Method
Spring Worksheets For 1st Grade Pdf
Sales Statement Template
Social Media Audit Template
Racor Fuel Filters Canada
Tooth Gem Certification
State Of Texas Template
Value Proposition Template Png
Travelocity Receipt Request
Tri Fold Brochure Template Size
Ups Tracking Number On Receipt
Synonyms And Antonyms Worksheet
The Cell Cycle Worksheet Pdf Answers
Sample Of Confirmation Letter For Job Interview
Reason Immediate Effect Reason Resignation Letter Samples
Self Employed Profit Loss Template
Thank You Email Sample