Heated Seat Wiring Diagram For Buick

If you are not electrically challenged you can use a simple volt ohm meter and check for continuity in the heat element.
Heated seat wiring diagram for buick. Air bag generation 1 corporate system. The main instrument panel fuse block is located under the instrument panel on the passengers side of the vehicle. Listed below is the vehicle specific wiring diagram for your car alarm remote starter or keyless entry installation into your 2004 2005 buick lesabrethis information outlines the wires location color and polarity to help you identify the proper connection spots in the vehicle. Collect all useful circuits for you.
2004 buick lesabre limited system wiring diagramsthis posting will be about the 2004 buick lesabre limited system wiring diagrams especially for the heated seat circuitin this 2004 buick lesabre limited system wiring diagrams you will see some components includes. Engine compartment fuse block. Heated washer jeta direction indicator glovebox light plate light heated seat sunroof reading light multifunction switch central. Buick lesabre 2003 2004 fuse box diagram.
Harness diagrams special and skylark right. Air bag oldsmobile inflatable restraint ir system. Wiring diagrams right click on any image to save it to your computer specialskylark chassis wiring front half. Driver heated seat switch interior lights systems front passenger heated seat switch driver door module front passenger door.
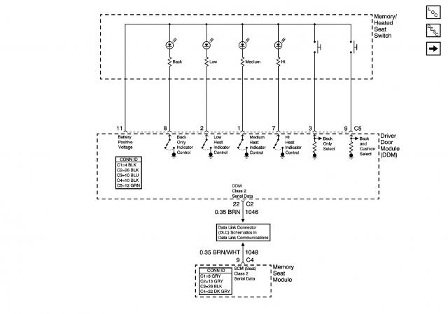
Looking for a wiring diagram for the heated seat switch on the drivers door of my 2000 buick lesabre limited answered by a verified buick mechanic we use cookies to give you the best possible experience on our website. Buick park avenue 2002 fuse box diagram. 1986 88 buick lesabre wiring schematic. 1986 88 buick lesabre wiring schematic.
Autozone repair guide for your chassis electrical wiring diagrams wiring diagrams. Fuse panel layout diagram parts. If you find this video helpful feel free to donate at paypalmenickthecarguy. Specialskylark chassis wiring rear half.
The engine compartment fuse block is located near the front on the passengers side of the vehicle. Main instrument panel fuse block. Heated drivers seat ford 500 2006 will not work. 1989 buick lesabre wiring.
1964 buick wiring diagrams. 2001 buick century fuse box map. Either the relay under the seat has failed or the heat element in the seat has failed.